In this article, we’ll be discussing a Disc Brake Caliper of Human-Powered Vehicle by Shimano, US publication 20240253729. The publication date is Aug. 1st, 2024 and the filing date is Jan. 26th, 2023.
This is a follow-up to the shots recently published by our totally-rad cycling overlords at Pinkbike (Dario Digiulio). Where would we be without their brilliant minds? This document was recently published, and I’ve been so busy working on other shit and hanging out with my super-cool-little-dude that this one sat on the back burner until today.

Brief Summary (tl;dr)
Shimano are developing a new caliper where one of the pistons has a specific outer diameter (e.g., ≥19 mm) and the strategic positioning of holes and interior walls within the caliper body to improve braking performance and reduce the hydraulic pressure required.
They say this not only improves the braking performance but also extends the lifespan of the brake components. Additionally, the design addresses the issue of uneven wear on brake pads by optimizing the layout of the pistons.
Why
Check it out folks, we got a solution statement from Shimano!
With the disc brake caliper according to the first aspect, since the first outer diameter is larger than or equal to 19 mm, for example, it is possible to increase a braking force and/or to decrease a hydraulic pressure to obtain a braking force compared with a case where the first outer diameter is smaller than 19 mm. Thus, it is possible to improve braking performance of the disc brake caliper and/or to improve durability of the disc brake caliper.
As you can imagine, they’re trying to improve braking forces while reducing hydraulic pressure to obtain satisfactory braking forces. Imagine that. We’d be shocked if this said “…we want less braking pressure with more hydraulic pressure…”.
Intended Novelty
I think this is the part of this article that is the most interesting to me, because Shimano got some big-ass-balls on them for claim 1.
Shimano states in summary, in claim 1, the attempted novelty is a brake caliper, where one piston is located inside a cylinder, and the piston is larger or equal to 19mm. That’s it. They’re claiming piston size.
Remember, to infringe, a product must “…a product must infringe at least one independent claim. To infringe an independent claim, the product must contain at least each and every element of the independent claim.” Sauce.
Shimano are really throwing their stones around with that one. But, let’s be real, I’d be amazed if that goes through – that’s way too broad.
I have a hunch they wrote it like this just to see what they could get through, given they have 22 claims (20 is normal) and 4 independent claims (3 is normal). They’ll throw some of those dependent claims in claim 1 or remove it altogether. I’ll keep an eye out as this progresses.
What
First, this entire document speaks to the pistons, their size, and their locations relative to the interior walls of the brake pad space. They don’t talk about fluid, materials, or anything else.
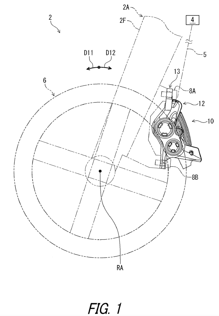
FIGs. 1 and 2 show this new caliper, which doesn’t depart too far from any other caliper on the market. We’ve got finned pads, a fixing bolt for the pads, and bore caps. I believe we can also see a fluid line input on top and a bleed port at the bottom. I’m speculating because they don’t mention those parts.


Let’s get into the guts of this thing. FIG. 3 shows a cross-section of the middle of the piston. I’ll be real with you, I’m not sure there’s anything too new here. It sounds like it’ll work like a normal caliper.
The blue hatched areas are bore caps that keep the pistons in place, similar to what you’d see on the XTR or Hope brakes. The green hatched areas are the pistons and the purple hatched is the pad material.

Hydraulic chambers 26A, 28A, 30A, and 32A are where hydraulic juices fill and compress the pistons. As you squeeze the levers, the hydraulic chambers fill, and you’ve got brake pressure.
This is where we get to the important stuff. FIGs. 5 and 6 show other cross-sections of the middle of the caliper, on both the left and right sides. First thing I see are the pistons might have a different face-shape compared to anything currently available. Don’t quote me on that because it’s hard to find an honest picture on the internet of a piston.
The point Shimano are making here is the 19mm diameter we talked about earlier. They go into some insane detail defining this caliper, but we’re just looking at [diameter] DM11 – that’s larger than or equal to 19mm.


So, what about the second piston? Long story short, [diameter] DM12 is larger than or equal to 15mm.
The important takeaway here is the location of the pistons. Their locations relative to the reference plane RP and walls 42 and 44 are important. My interpretation is moving the smaller piston far away from the larger piston allows the larger piston to be made much larger. I have no frame of reference as to the importance of 19mm, but it sounds like 19mm is important to Shimano.
Might be a bit of a reach on my part, but I think the overlap of the pistons over the walls 42 and 44 (44 more so) makes more space for larger pistons, as well.
Related to the wear I mentioned earlier, Shimano don’t really go into the mode of success here. They only say:
With the disc brake caliper according to the eighth aspect, it is possible to decrease a braking force on the upstream side of the first interior wall in the driving rotational direction. Thus, it is possible to reduce an uneven wear of the brake pad on the upstream side of the first interior wall.
Take that how you want.
Conclusion
Wandering bite point. We get it. It wanders.
The only thing constant in life is change, and it’s about time. This, along with the anti-rattle dangle from a few weeks ago (and other stuff I haven’t written about), suggests we may see a fairly substantial basket of improvements in a next-iteration from Shimano, which I can appreciate. I’m not a huge fan of incremental improvements, but I understand product development is incremental, and companies have a business to run and mouths to feed.









Leave a Reply