In this article, we’ll be discussing a Bicycle Tool by Canyon, Tool Assembly for Bicycle by Cyclingdeal USA, and Device and Method for Inflating and Repairing Tires and Other Inflatables by US Thermoelectric Consortium.
This is going to be a bit different than the others. I’ll just give a quick overview of three different tools that have been published in the last few days.

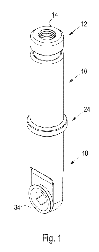
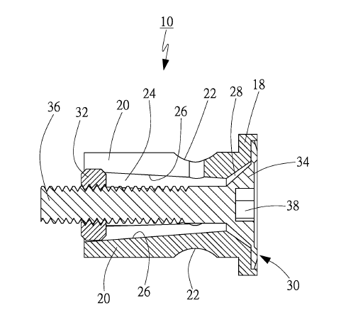
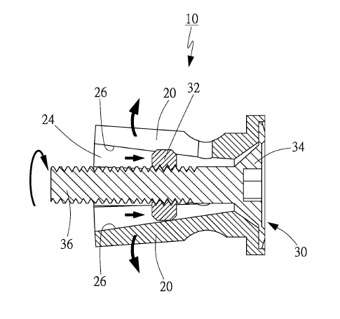
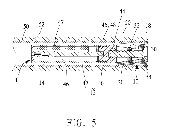
The first is Canyon’s new tool. They’ve developed a new tool system that can plug a tire, inflate a tire, and hold a bit. I find it interesting that the bit holder 34 is actually a ratcheting system. This patent has not been granted yet.
The ratcheting system is cool to me, though can obviously present issues. As soon as those teeth go to shit, this becomes a tire pump only. At the end of the tool, a bit is inserted into bit holder 34, and a rider can tighten or loosen bolts just like a ratcheting wrench. The bit can then be stored in the cavity in the valve connection 10. The only issue I have here is that these types of bits only have two usable sizes, though this is primarily a tire plug, not a tool system. So, they’ve added a tool function to a tire plug, not the other way around.
As far as inflation goes, repair mandrel 22 attaches to valve connection 10, which then accepts a CO2 bottle at the other end. Canyon explain the mandrel widens the hole and a tire plug can be inserted into the hole. When you attach the CO2 to the other end of the valve connection, the valve automatically opens to fill the tire. Canyon don’t explicitly state that the mandrel can hold a plug, but they do reference this system as very similar to the Dynaplug system. If that’s the case, a plug would be at the end of the mandrel, so when you’re done filling, you pull the mandrel out, and the hole would be sealed with a plug.




HERE’S THE INTERESTING PART – this may suggest some new bike designs from Canyon. They state this tool will actually be inside the top tube. I’m not familiar with any tool system in the top tube, so if you’ve seen it, please share. We might be seeing a new storage system from these folks at some point.
…it is possible that a storage compartment is provided in the top tube…. due to the elongated design of the bicycle tool according to the disclosure, said bicycle tool can be easily arranged in such a storage compartment which is particularly provided in the top tube of a bicycle frame.
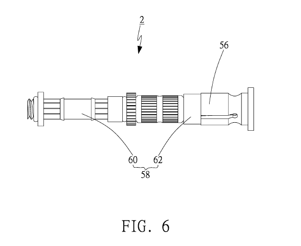
Next, we’ve got a tire plug system from Cyclingdeal USA. Yes, the website. This system goes into the bar ends. There are other very similar systems out there, so this isn’t a new idea; just a new spin. It’s possible this is already licensed to another company and it out there under another name. This patent has been granted.
It’s pretty simple. Figure 1 shows the whole assembly. Connector 10 is at the end of the handlebars, which screws into the tire plugger 12, which then goes inside storage 14. Storage 14 also holds your bacon strips.

Figures 3 and 4 show the tightening mechanism. I’m fairly certain the novelty here is a combination of the tool system and the tightening system. The bolt is attached to a nut and the nut expands the connector 10 to apply pressure to the handlebar. BUT, at the end of the bolt is the tool system. So, the whole thing slides into the bar, you tighten the bolt, and you’re done.


Figure 5 shows the system in place. It also looks like the depth of the bolt in the tool casing is set up in such a way that it’ll also apply pressure to the connector 10, so it might not rattle around in the bar. Item 50 is the handlebar, and item 52 is the grip, so this design is set up to appear very flush and clean looking at the end of the bars. Figure 6 shows a very similar system, but with a tire inflator rather than a tire plug.


Yes, you’d need a tool to get your tool out.
Last one. This is a tire inflation device by US Thermoelectric Consortium. I’m not sure this one is technically integrated into the bike, but here we are. There’s a shit load of patentable designs in this document, but I couldn’t find any actual products on their website. It’s entirely possible this is the type of company that’ll license a design to a bike manufacturer rather than make it themselves. Since there are so many examples in this document, I’ll just talk about the claimed invention in this specific document. If you want to see the rest, check out the link. This patent has been granted.
As referenced prior, this looks extremely similar to the Dynaplug system, which could be who is buying these designs, especially the first example in the document itself. Or, USTC owns Dynaplug, not sure. This design is a little different compared to the current Dynaplug system, where the little metal end-piece stays in the tire. This system just uses bacon strips. Edit: yes this is a Dynaplug system.
Figures 33 and 34 show the entire assembly. The plugger 76 holds a bacon strip and is jammed into the tire. The plugger also has little holes 79 that inflate the tire. As you jam this thing into the tire, the holes released the CO2 gasses into the tire, you pull the system out, the bacon strip stays in the tire, and you’re on your way. In this particular claim set, the method of gas flow is to screw the canister in to puncture the seal, but there a tons of other mechanisms in the patent such as: a button, a drill, or an actual air pump.

There’s even a setup with an electric pressure gauge shown in Figs 25 and 26.

It looks like the market has shown an appetite for clever tool systems that can be integrated into your bike. Personally, 80% of my rides are without a bag, so an integrated tool device is exactly what I want. I currently have the OneUp system, and it’s pretty sweet, but this tire inflation idea might be my next purchase.









Leave a Reply