In this article, we’ll be discussing a Bicycle Derailleur Apparatus for Controlling Bicycle Speed by Ford, US patent 11,124,269. The publication date is Sept 21st, 2021 and the filing date is April 22nd, 2019. This patent is granted
This one is wild.
Follow along on Instagram or Facebook
Brief Summary (tl;dr)
Ford have developed a derailleur mechanism that works unlike anything I’ve ever seen. There are a pair of Nitinol wires that are attached to a chain guide from the seat tube, which holds the chain. An electrical current is applied to the wires, which heats up the wire. They then change shape and move the chain guide, which then in turn moves the chain. There are no mechanically moving parts, just wires and current. Ford say this system should ultimately be used for automatic gear shifting, with a simple, cheap, light derailleur. Neato
Background
So, we’re dealing with a derailleur on this one. In particular, the front derailleur, which is all but nixed from any currently available bikes. There are some road bikes that still use them, but they’ll probably be a thing of the past for the vast majority of biking applications in the near future.
All mechanical derailleurs work, generally, the same. A cable is tensioned or de-tension, which moves a guide in or out, which in turn moves the chain between chainrings. It’s simple and proven effective.

Now we have electric derailleurs that, again, do the same thing but with a little motor/servo rather than a cable tensioning system.
Well, Ford have their own take on it and it’s quite the idea…
Intended Novelty
This whole thing has to be novel. I believe the explicit novelty here is the use of moldable wires which deform when a current is applied.
Why
Ford say they’re trying to do a few things. First, they want a lighter system than is currently available. They also want to reduce complexity and reduce costs. Lastly, they want this to be automatic.
Automatic bicycle derailleur chain shifting control apparatuses of various designs have been proposed in the past. However, due to drawbacks in terms of design complexity, excess weight and/or relatively high cost, these apparatuses have experienced only limited acceptance for incorporation on bicycles commonly purchased by casual riders.
What
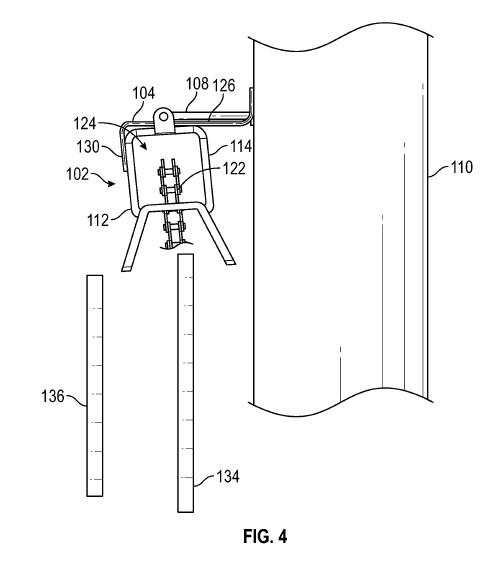
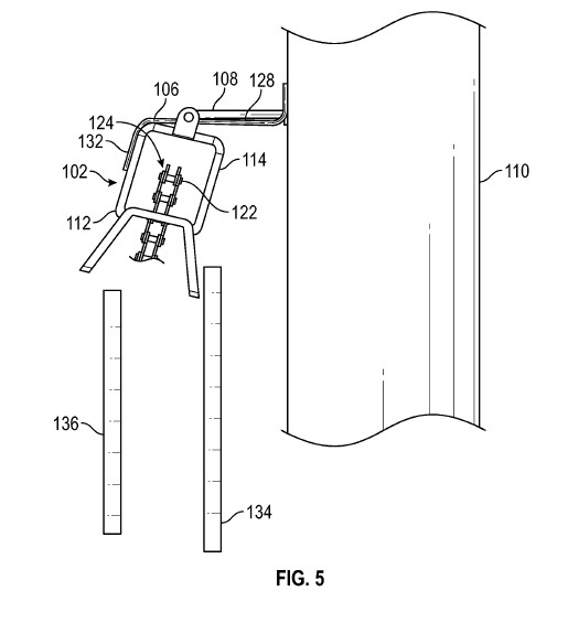
FIG. 1 shows the entire system. 110 is the seat tube and I’m sure you can tell where the derailleur is. The important parts here are moldable wires 104 and 106. These wires are attached to the chain guide at sections 130 and 132.

FIGs. 4 and 5 shows this system in action, and here’s where it gets weird. An electrical current is applied to one or both of the wires. In turn, the wires heat up. As they heat up, they are predisposed to deform to a different orientation, because they’re made of Nitinol (more on that later). As a result, the chain guide will move the chain to and from each chainring. I assume one wire is configured to move the guide inward, and the other is configured to move the guide outward.


So, in short: current is applied to the wires, the wires deform because they get hot, the wires are attached to the chain guide, and the bike shifts gears. It sounds like the current is going to be coming from the E-bike motor. Wild stuff.
Upon applying a predetermined electric current to the moldable wires 104, 106 at separate time periods, the outer end portions 130, 132 deform from pliable states, as shown in FIG. 1, to respective acute and obtuse angular states relative to the main portions 126, 128, as diagrammatically shown in FIGS. 4 and 5.
And if you’re concerned about heat, Ford say they’ll get up to about 100C, which is hot as shit. Fortunately, they also say that it’ll be insulated to not burn you. Additionally, the current isn’t constantly applied. Its only applied long enough to move the derailleur; then it turns off.
Ford have a line that defines the materials being used:
By way of example, the moldable wires 104, 106 may be a commercially-available product designated as Niti Nitinol Nickel Titanium Super Elastic Wire having a 0.020 inch 10 diameter.
If you’re new to what Nitinol is, check out this video. It’s a shape memory metal that can be deformed and reformed by just changing the temperature. It’s pretty cool stuff.
From Wiki: Nitinol alloys exhibit two closely related and unique properties: the shape memory effect and superelasticity (also called pseudoelasticity). Shape memory is the ability of nitinol to undergo deformation at one temperature, stay in its deformed shape when the external force is removed, then recover its original, undeformed shape upon heating above its “transformation temperature”. Superelasticity is the ability for the metal to undergo large deformations and immediately return to its undeformed shape upon removal of the external load. Nitinol can deform 10–30 times as much as ordinary metals and return to its original shape. Whether nitinol behaves with the shape memory effect or superelasticity depends on whether it is above the transformation temperature of the specific alloy. Below the transformation temperature it exhibits the shape memory effect, and above that temperature it behaves superelastically.
Ultimately, this system is designed to work automatically, with a controller on an E-bike. Ford say the system will sense cadence, power, whatever, and automatically apply the current based on what gear they think you should be in.
Conclusion
This is 100% new to me. I always say ‘’nothing is new” (ironically), but this is very very different. Will it ever see the light of day? Who knows, man. This one is so far out there that it may just show up on a concept bike one day. Either way, it’s cool to see how creative these inventors can be.
Let’s also take the time to appreciate that Ford is, again, patenting something for bikes. We’ve seen companies like Porsche making E-bikes and Hyundai developing a lugged bike. We’ve even seen Ford introduce a bike rack for a truck bed. I say this because this may be just the beginning of large automotive manufacturers getting deeply involved in bikes, and that should scare the shit out of current bike manufacturers.
Ford, GM, VW, etc have more money than they know what to do with. Combined with their extensive workforce and technical expertise, if any of them decide to really jump into the bike world, they’d have the ability to make a huge splash and disrupt the established players.









Leave a Reply