In this article, we’ll be discussing a Pickup Truck Having Cargo Bed with Elevated Bicycle Rack by Ford, US patent 10,703,295. The publication date is July 7th, 2020 and the filing date is Oct. 20th 2016.
Not going to write much about this one. Very short, simple patent.
The bike market seems to be getting large enough for them to justify the R&D on bike related ideas. I hope we see more of this kind of stuff in the future. Although, looking through some patents and the interwebs, the idea of an integrated bike rack isn’t new. Here’s some examples.
Subaru, Toyota, and a Ford Mustang among others out there.
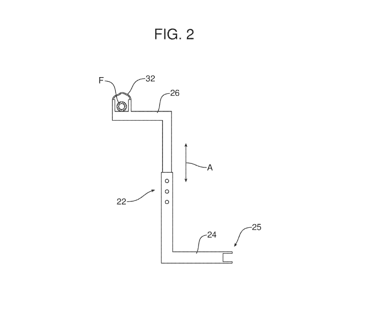
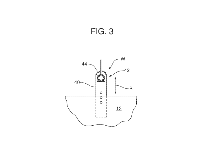
Ford is developing an adjustable removable center support (20), with straps (32), that plugs right into a hitch on the back of the cab. Then, there’s adjustable wheel supports (40) with more straps (44) that hide away in the sides of the bed. I like that the bike sits up high to allow use of the bed while moving a bike. Pretty cool concept. I hope this makes it to, at least, a concept truck.


These are the mounting points. Fig 2 is the center and Fig 3 are the wire supports. The tire supports retract into the truck bed side walls so they’re out of the way when not in use.











Leave a Reply