In this article, we’ll be discussing a Rear Gearshift Mechanism for Coaxial Installation by SRAM, US publication 20210070395. The publication date is March 11th, 2021 and the filing date is Nov. 17th, 2020. This has not been granted yet.
This is an extremely long and confusing document, so I’ll keep this one high level. I tried to make this as simple as possible, but this one was hard. If someone from SRAM could please let me know if I missed something or got something wrong, that would be awesome.
Brief Summary (tl;dr)

SRAM are developing a new type of derailleur that does not incorporate a hanger, or has an integrated hanger — however you want to look at it. The derailleur has a coaxial bracket that attaches to both sides of the rear triangle. SRAM state numerous advantages to this design, such as being stronger, improved tolerancing, no hanger damage, and reduced ghost shifting. The installation process is somewhat goofy, where the derailleur will be loose until the axle is installed. This system can be used on different sized axles by only changing the nut and bolt that mounts the derailleur onto the frame.
Intro
SRAM are introducing a new derailleur that mounts directly to a frame without a hanger. In the simplest explanation I can come up with, SRAM are developing a new derailleur without a hanger, or it’s a derailleur with an integrated hanger. I guess both are technically correct. This new design contains a bracket that attaches the derailleur to the rear triangle on both sides of the triangle, rather than just hanging onto a hanger from one side.
The derailleur is attached to the bike in a ‘coaxially’ manner. SRAM explain what this means:
…the first arm is situated on an axial inner side of a bicycle frame and the second arm is situated on an axial outer side of the frame.
In short, coaxial means the two arms attach the derailleur to the frame, where the two arms share an axis. This should be much stronger than the current hanger design.
A nut and bolt are used to fasten this system to the bike. The inside of the bolt is threaded to accept the axle and SRAM say this nut and bolt can be interchangeable based on the axle size on your bike. Pretty nice to hear they’ve figured out how to make this modular.
Additionally, this could be used on SRAM’s AXS systems. They say this system can be electronic or wireless, which isn’t that surprising. They’d be crazy to develop anything these days that isn’t wireless.
Intended Novelty
The novelty on this one isn’t the actual design (at least not this patent) — it’s the installation process. SRAM state their process is: preinstalling the derailleur, positioning the rear wheel in the frame, and partially screwing in the axle, but not fully tightening, allowing the derailleur to have the freedom to rotate around. Then, the bolt is tightened to the axle so the chain is tensioned. This tightening and tensioning are achieved due to some pins and stops located inside the nut and bolt. Then the axle is tightened.
In short, the derailleur isn’t actually tightened prior to installing the rear wheel, but is tightened after the axle is in place. Again, this isn’t granted so these claims could change during prosecution. This will be clearer in the following sections.
Why
SRAM have quite a few reasons for this new design. They want to remove the discrepancy of different brands using a hanger on the inner and outer side of the swingarm:
The clamping [of a hanger] is possible both on the frame outer side and on the frame inner side. This has the effect that, depending on the derailleur hanger used, the gearshift mechanism assumes a different position relative to the rear-wheel axis and also relative to the sprocket assembly… The gearshift mechanism must be newly set depending on the derailleur hanger.
They want to prevent hangers from getting damaged. I’ve broken quite a few and I’d love a design to reduce this possibility:
…the derailleur hangers, specifically as separate components, are susceptible to damage and are often unstable.

They also want to improve lever forces on large derailleurs and improve the position accuracy of large derailleur:
In the case of large sprocket assemblies and correspondingly large gearshift mechanism dimensions, increased lever forces occur, which can often be only inadequately accommodated by an exchangeable derailleur hanger… Conflicting with this is the fact that an increased number of sprockets arranged closely adjacent to one another specifically demands increased positioning accuracy.
The accuracy is a product of long-armed derailleurs, resulting in larger lever forces:
The lever forces acting on the gearshift mechanism also increase in association with this, such that the gearshift mechanism exhibits a tendency to tilt relative to the planes of rotation of the sprockets. Only a gearshift mechanism standing exactly vertically under the sprocket assembly permits precise gearshifts.
They want less reliance on frame tolerances for accurate derailleur positioning:
Since conventional gearshift mechanisms are fastened directly to the frame and are referenced with respect to the latter, manufacturing tolerances of the frame also have a direct effect on the gearshift mechanism.
Lastly, they want to reduce the likelihood of incorrect or ghost-shifting:
…[a full suspension bike] can lead to a movement of the linkage mechanism and thus to undesired gearshift processes (ghost shifting).
That’s a lot of shit they want to improve with one design.
What
Figure 1 shows an isometric view of the whole situation without a cassette. This design looks far more robust than current offerings. SRAM have a statement on an advantage of this design:
An advantage… is that the two mutually spaced-apart arms of the base element ensure a stable orientation of the gearshift mechanism parallel to the plane of rotation of the sprockets, and thus perpendicular to the rear-wheel axis, in the installed state of the gearshift mechanism. Tilting of the gearshift mechanism out of said plane is prevented in an effective manner even under the action of relatively high forces.

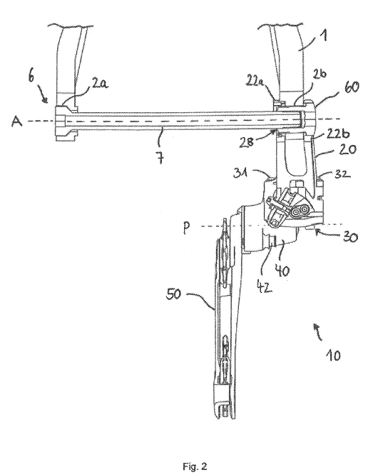
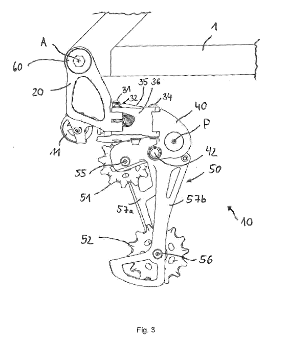
Figures 2 and 3 are rear and side views of this new system. Figure 2 is where we need to focus. Notice how the derailleur is attached on both sides of the chainstay/seatstays.


Figure 5 shows a cross-section of the new design. Component 4 is the hub axle. That was confusing to me, so I felt you may wonder, too. Notice how nothing is actually threaded to the frame or the derailleur itself. So, the bracket hangs onto the nut 66 and bolt 61 until the system is tightened.

One of the big questions I had on this was – is this new bracket going to need an axle inserted to keep the derailleur in place? The answer is no. The derailleur will be positioned into the frame via a bolt 61 and nut 66. Figures 6 and 7 show the new bracket bolted in place. The nut has a knurled surface 69 to ‘produce a positively locking connection to the frame 1 and counteract a forward (counterclockwise) rotation of the [derailleur]’. This is just their way of keeping the derailleur in place after tightening.
Figure 7 shows a cross-section of the nut 66 and bolt 61. The nut and bolt are threaded into each other to hold the derailleur in place and the bolt has an inner thread to accept the axle. So, the nut and bolt are screwed into each other, then the axle is installed, but not tightened.

Figure 8 shows an exploded view. The important part here are the pins 24a and 24b, and the stops 68a and 68b. The pins and stops prevent the nut from rotating during the installation process to actually tighten the nut and bolt after the axle is installed. This also rotates the derailleur rearward to create chain tension. They say this rotational prevention replaces the conventional B-screw and protects the derailleur from excessive forward movement. For those that don’t know, the B-screw is the little screw on the derailleur that controls the distance of the upper derailleur pully from the cassette cogs.

The last step is that the axle is then tightened into place and you’re good to go. The knurls keep the derailleur in place and you just shift like normal.
Lets recap: The derailleur is positioned. The nut and bolt are screwed into each other but not tightened. The wheel is installed and the axle is screwed in, but also not tightened. Then, the bolt is tightened into place onto the axle. The pins and stops allow the nut and bolt to be tightened to the frame because they prevent the nut from rotating. As you’re tightening the bolt, the derailleur rotates rearward and tensions the chain. Then the axle is tightened. The end.
SRAM have one line on the uninstallation:
During the uninstallation process, the plug-in axle 7 is loosened, such that the gearshift mechanism 10 can rotate rearwards again and the rear wheel can be removed.
Wow this one was hard.
It’s important to note that this derailleur can be used on multiple bikes just by changing the nut and bolt (adapter). There will be adapters for 12mm, 15mm, etc., so this will fit any bike.
The modular system permits a simple and inexpensive change of the plug-in axle… Depending on the bicycle type and load, it is possible to select either a stiffer or more lightweight plug-in axle. Only the adapter 60, 60′ has to be adapted to the selected plug-in axle… The hub arrangement, the driver 100, the base element 20 and the other parts of the gearshift mechanism can be utilized unchanged, and are not influenced by the change of the plug-in axle.
Conclusion
This is one of those ideas where I think, “why the hell did it take this long to come up with this”. Probably because it’s so complicated. But, the idea seems so obvious, and I can’t argue with any of their advantages. In fact, I’d be very suprised if a coaxial hanger doesn’t already exist somewhere.
A real-world application may yield a different opinion, but there’s no reason it shouldn’t work. Two mounting points will always be stronger than one, and the removal of a hanger only simplifies the whole shifting eco-system. The pins, stops, and knurled section seem suspect, but we’ll see how it turns out in real life before I form an opinion.
One only issue I have here is hangers are cheap and easy to replace. They’re almost wear-parts, where you can just change them out, even if you don’t need to. If you take a gnarly hit to this one, this pseudo-hanger may be a little more expensive than a traditional hanger. That being said, it’s probably not that much more, and the possible advantages appear to clearly outweigh the possible disadvantages. I’m a fan. I’d love to try it out.
The big questions here is: does the bike dropout need to be a standard for this to work? Are they already standard? I’m assuming they are, but I’ve never actually measured this area on a bike.
Thanks for getting this far. This was was a tough read.









Leave a Reply