In this article, we’ll be discussing a Bicycle Frame Element by Canyon, US patent 10,974,786. The publication date is April 13th, 2021 and the filing date is Nov. 1st, 2018. This patent has been granted as novel by the USPTO
Short document = short article
To Canyon: I’m fairly certain I found a substantial error in this document. Please keep reading and please tell me if I’m wrong.
Intro

A few weeks ago, I wrote about a new tool by Canyon, left. I wasn’t sure where it was supposed to go, but they said:
…it is possible that a storage compartment is provided in the top tube…. due to the elongated design of the bicycle tool according to the disclosure, said bicycle tool can be easily arranged in such a storage compartment which is particularly provided in the top tube of a bicycle frame.
Well, it looks like this new document supports this line from the tool document.
Intended Novelty
The intended novelty of this idea is the bike has a recess for frame storage, but the storage isn’t just a sliced hole in the frame. The recess still provides a tubular profile of the bike frame, but it just kind of goes inward. In their words, it’s ‘closed in a circumferential direction’. Imagine your top tube having a big ass dent — that’s what this is, but it’s a planned dent. Additionally, the inside of the recess has some kind of coating on it. I’ll go into that later.
Why
Canyon state they want to provide a better solution than just hanging bags all over your bike, as well as not cutting a hole in your frame, which could weaken your frame.
…it is known to provide openings in frame tubes so that the hollow interior of a frame tube can be used as a storage space. This, however, causes the considerable disadvantage of weakening the stability of the frame tube.
So, for all you SWAT and BITS fans, Canyon are saying your bike is weak af.
They also want to solve the issue of your crap not smacking around inside your frame, possibly damaging it, or just making annoying sounds:
A further disadvantage of storing e.g. tools in such openings or recesses of frame tubes resides in the possible clattering sound caused by the tools and other accessories during cycling, since the accessories are not fixed in such recesses.
What
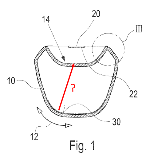
FIG. 1 shows a cross-section of a frame tube. Canyon state this could be a top tube, down tube, or saddle tube (seat tube?). The frame tube is closed, but it has a recess (14) in it. Component 20 is the flexible cap for the recess.
…[the] frame tube 10… can be e.g. a top tube, a down tube or a saddle tube of the bicycle frame.
This profile of the bicycle frame, closed in circumferential direction 12, includes a recess 14 which is hollowed inwardly and particularly has a concave shape. The recess 14 particularly serves for storage of bicycle accessories such as e.g. tools, a bicycle pump, a rain jacket etc.

Here’s where I think the error is. The spec and claims make it very clear that the coating should be inside the recess itself. That makes perfect sense, but FIG. 1 shows the coating inside the frame, not the recess. The figures do a poor job of noting where surface 28 is; it should be in FIG. 1. Here’s what the spec says.
Spec: On a surface 28 of recess 14, a coating 30 can be provided. This coating can extend across the entire surface 28 or a part of surface 28 and particularly has the purpose that the bicycle accessories arranged in the recess will be kept from sliding or shifting out of position.
The claims back up that statement.
Claim 1: …wherein, on a surface of the recess, the frame tube; is at least partially coated.
FIG. 1 shows the coating on the inside of the frame, not the recess. I brought this up to my team and they came to the same conclusion. I hope I’m wrong, so any clarification would be welcome.


Moving on. The recess is capped with a ‘holding element 20’. Canyon state this isn’t a hard surface. Instead, it’s going to be some kind of elastic or net, so larger items can fit inside.
The holding element is preferably made of an at least partially elastic material and particularly is formed as membrane or a net.
There could even be little pockets inside this piece. I’m pretty sure that’s what component 22 is, but they don’t reference it, which is an oversight in the application.
Particularly on an inner side of a holding element 20, one or a plurality of pockets can be provided for taking up small parts or the like.

Figure 2 shows a top view of the storage recess. This shows surface 28 should be the top side of the recess. Since this is a closed recess, and doesn’t access the inside of the frame, the coating 30 should be on the surface 28, which is shown in FIG. 2, but not in FIG. 1. This opens the door for legal ambiguity.
In the end, this image might be correct but FIG 1 might not.
Conclusion
First, the idea. I like this. It’s a cool design that will provide some level of storage while maintaining the bike’s integrity. The only issue I see is the recess will probably be much smaller than the competition, but they know that, and Canyon are trying to find a middle ground. The netting on top will regain some room, but it won’t be the same.
Second, the error. Is this an error? Am I stupid? I don’t think it’ll invalidate the entire document, but it’s possible this could invalidate one or more claims. That could cause some real issues with protecting this idea. Even more so, this is already published in the European Patent Office and the German Patent Office with the same images. Am I crazy here? This can’t be right. I went through the entire file history and couldn’t find a reference for this issue, from the patent office or the legal team. Here’s the entire, readable, file history.









Leave a Reply