In this article, we’ll be discussing a Bicycle Mounting System by Tsuga Canopies LLC, US patent 10,875,442. The publication date is Dec. 29th, 2020 and the filing date is Aug. 12th, 2019.
Disclaimer: I’m in a fortunate position with running my own small website. Manufacturers aren’t knocking on my door with cash, telling me to write a good review. I can sift through the USPTO patent releases and hand-pick the ones that appear to be good ideas. I’m not going to put myself in a situation where I choose to write about a shitty product, and I don’t want you to read about that shitty product for the sake of selling you something shitty. In this case, this is a cool product that I’d like to share with you.
Intro
With my other articles, one of the major discussions is about the actual product. What will it look like? What will it be made of? I’m very excited to show you the novelty and the actual product for the Tsuga Pisgah Pad.
Named after, in my opinion, the best riding spot in the US, the Pisgah Pad is a versatile, high quality, attractive option for those that don’t want to cover their tailgate with a huge pad, or may want extra security for those long or rough trips.
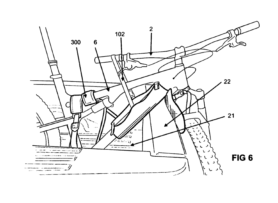
Tsuga’s new tailgate pad attaches directly to your bike, rather than the truck bed. The patent shows two pads, but the actual system is a single hinged pad. The pad has two rearward-facing straps, where one attaches to the downtube and one other wraps around the handlebar, like the images below show.
The fork is then held in place with a Velcro strap around the fork lower (unlike the patent drawings). The bike is then secured by a pair of hooks that connect to the truck bed — moto style.


Intended novelty

The intended novelty is the use of a fork pad and a frame pad that directly attaches to the bike, rather than attaching to the truck. Additionally, the frame pad includes an integrated handlebar strap to keep the handlebars in place.
The actual product looks slightly different but doesn’t deviate from the scope of the actual invention. Tsuga have refined the design since applying for the patent.
Why
A typical truck bed-style bike mount system has it’s benefits. They’re large, can fit a bunch of bikes, and quick to attach the bikes. Tsuga has a very concise reason for this design:
The traditional pad systems are also replete with problems. [They] are very difficult to attach to a pickup truck bed’s tailgate… and require straps or other textiles to be negotiated through a small gap between the bottom of the tailgate and the pickup truck bed. This process is so difficult, users rarely remove traditional pad systems in order to avoid this task in the future.
Once mounted, traditional pad systems introduce a new variety of problems. While attached to a pickup truck bed’s tailgate, a traditional pad system traps water, dirt, and debris against the painted bodywork of the tailgate. This results in rust, scratches, and general damage to the tailgate.
Tsuga say this pad is designed for the type of person that drives long distances with their bike, or through rough terrain that may throw your bike around and damage their truck, bikes, or both. I’d like to emphasize the ‘rough terrain’ part; these were excellent on rough terrain.
Review
The first thing you notice when opening the box is the quality of the materials and attention to detail. It just smacks you right in the face. There’s no ignoring the fact that Tsuga has put some serious thought into this Pad. They’ve even gone as far as etching their logo into the hooks themselves. The pad is comprised of 60/30 polyester, grip-tech fabric, ¼” open cell foam, ¼” 60A durometer rubber, N52 magnet, aluminum G-hooks, and Biothane webbing. According to Tsuga, the N52 is the strongest grade magnet available.
These pads are assembled in the good ol’ USA in Boone, NC and you’ll have two color options for now: Black and Camo. The warranty is generous at two years.

The hooks are very high quality, with anodized machined aluminum and 1/4″ 60A durometer rubber on the part touching your bike. They’re also very nicely etched for that little extra detail. The cam buckles look and feel the same as any strap system you’d buy from a hardware store; nothing wrong with them. The other end of the straps, attaching to the truck, are heavy-duty rubberized hooks. It’s important to note that these can be used for any other applications like a dirtbike or ATV.
The pads are also very high quality. They’re made of 60A durometer rubber, which prevents the pads from developing an indention over time. Unlike the patent, these are a one-piece hinged design with neodymium magnets placed inside the pad itself, so it folds onto itself when not in use. They’re light, compact, and easy to toss in your car during a ride. Additionally, the tailgate camera wasn’t obstructed with these pads.


G-hooks are used to secure the straps around the downtube and handlebars. These seem high quality and should hold the bike without any issues. The fork is attached via a traditional Velcro system, which straps around the fork stanchion. I actually got it to fit around my Fox 40 lower; so if it fits that, it’ll fit anything.
They even offer a little mini-pad that attaches to only your downtube for extra protection if you don’t want to ditch your tailgate pad. I like this little thing because it never has to come off the bike. I’d be happy to use the mini on my downhill bike.

Installation
Setting the pads up the first go-round took a little time, but I think if I do it a few more times, it’ll be pretty quick and simple. I was sent the double system, which includes an extra pad and a center strap to keep inward tension on both bikes. Obviously, this worked great on my trail bike since the fork crown can rotate under the downtube. The downhill bike was a little more challenging, but wasn’t too bad. On a downhill bike, the pad will sit at a slight angle since the stanchion can’t sit below the downtube. Either way, both bikes got hooked up easily.
The process is:
- Place the wider portion of the pad on the bottom of the downtube. Strap the shorter strap around the downtube. Strap the longer strap around the handlebar.
- Secure the fork by strapping the Velcro around one leg of the fork. Throw the bike over the tailgate.
- For a single bike system, attach both hooks to the top tube and secure the other ends to your truck bed hooks. Tighten, and you’re good to go.
- For a double bike system, attach one hook to one bike’s top tube, and the other hook to the other bike’s top tube. Strap the center strap around both top tubes and tighten, applying inward tension, which apposes the hook’s tension. Tighten the hooks and go.
Security

This is where this system shines. I took both my bikes through the city and didn’t see these things wiggle and inch, seriously. We also took it off-road a little bit (as much as you can in Colorado winter) and these were still absolutely secure. I wouldn’t hesitate to bring this on the roughest roads of the Rockies or the fire roads of western NC. I also wouldn’t hesitate to bring these to a sketchy part of town for a bite to eat. Though they’re not lockable, it’ll take a lot more effort for a thief to pick these off the back of your truck.
This picture shows my actual bikes. Of course it’s on a Taco…
Price
Update: Tsuga have updated their prices since this article was released. The 2-bike set is now $214.95, the single pad with hooks is now $149.95, one full pad is now $84.95, and the mini is now $44.95.
There’s no getting around it, these are on the higher side of the market. That being said, they’re also on the higher side of quality — you get what you pay for. The full set that Tsuga sent me is $290. That’ll take care of two bikes with pads and will come with the hooks. The single pad set up with a set of hooks is $195. One full pad starts at $125 and the mini is $40.
Conclusion
I showed these to my brother a few weeks ago, and he said “These are a good example of buying an expensive product will always be the cheapest”. Yes, they’re pricey, but not expensive, especially when you compare the money we spend on our bikes and trucks. You’re buying a $5000 bike ora $50k truck, but want a cheap tailgate pad to protect them? Lets not forget a Thule T2 hitch mount is $500, and it’ll only hold 2 bikes. The full Tsuga system is roughly half that price for the same amount of bikes. In the end, there’s no doubt in my mind these will keep your bike and truck from damage for years to come.
As far as mounting time, yes, these will take a few more minutes to set up compared to a traditional tailgate pad, but with that slight extra time, you get significantly more security and safety. You’re trading an extra 3 minutes for the piece of mind that the bikes aren’t moving around or getting stolen. All-in-all, this pad is for those traveling longer distances or on rough roads. This isn’t going to replace the typical tailgate pad or moving-rug.
The Tsuga Pisgah Pad is a premium piece with a higher-end price tag. If you’re the type of person that buys your Chinese bike parts on eBay, this pad probably isn’t for you. If you’re the type of person that buys one quality item and keeps it for years, then consider the Pisgah Pad. You won’t be disappointed.
Order here: Tsuga Gear Shop
Pros
100% novel idea and USPTO granted novel
Very well made, should last for years
Very secure. Those bike ain’t gonna move
Compact design, easy to throw into your car during a ride.
Hooks can be used for other applications
Cons
Pricey
Slightly longer time to set up
Will sit a little offset on a DH bike










Leave a Reply