In this article, we’ll be discussing a Bicycle Transport Container as Well as Rolling Element for a Bicycle Transport Container and Stand for a Bicycle or For a Bicycle Frame by Canyon. The first one is publication 20210129312 and the second is patent 10,766,552. The first is not granted and the second is granted as novel.
This will be a shorter article since they’re both really short documents. These aren’t earth-shattering ideas, but they show the importance of incremental improvements.
Canyon were one of the earlier adopters of the direct-to-consumer business model. This type of distribution presents a different set of problems that require a different approach to successfully deliver a bike to each individual person, rather than 50 bikes to the same shop. That being said, Canyon don’t just develop bikes and bike components, they also develop packaging and shipping solutions as well. It makes sense — packaging is part of their manufacturing process, so they need to optimize the packaging process along with all other processes to make money money, make money money monay.
Wheels
First, I’ll talk about the cardboard box wheels they’ve developed. These are called caster wheels, or casters, in the biz and usually provide 360° rotation for easier maneuverability. We all use casters every week in our shopping carts.

Canyon’s idea is fairly simple, they want these caster wheels to attach directly to their cardboard boxes. The objective is to provide a bicycle transport container that is easier to transport.
They’re doing this because:
The transport of such a bicycle transport container for private persons, e.g. on travels, is difficult due to the weight and the dimensions.
These casters come in three parts: connecting part 10, fixing part 34, and roller (wheel) 50. The connecting part can be considered a female end and the fixing part can be considered a male end.
As shown in FIGs. 2 and 3, the connecting part contains two ‘wings’ are folded outward to lock the part in place in the box. As you can see, the connecting part has a bunch of little holes around the perimeter. The placed connecting part is inside a premade hole in the cardboard.


As shown in FIG. 7 and 8, the fixing part includes pin-shaped protrusions, which are placed inside the little holes of the connecting part. I can say fairly confidently that as soon as these two parts are attached to each other, they’re never coming apart without breaking them. The fixing part is what will accept the wheel.

Lastly, the wheel is inserted into the fixing part. Canyon say the wheel can be removed whenever you’re done rolling the box around. FIGs. 9A-9D show the process.


Pretty cool little idea for Canyon’s very specific problem-set. This should make it much nicer to move boxes around a warehouse or when a customer receives their bike. I do have to add, though, that when I got my Canyon, moving the box wasn’t a huge issue, but I can still see where the value is with this design.
Stand
Next, we’ll talk about the bike stand that Canyon have developed. Canyon say they’re doing this because they want to improve the usability of a bicycle stand.
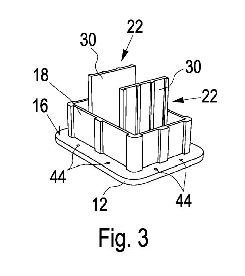
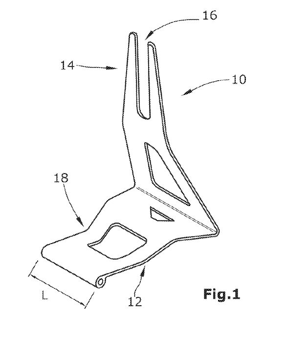
First, they state that this will be made of sheet metal. For those that don’t know, these little bends are called ‘breaks’ in the manufacturing world. They also state that this stand can be used in two configurations — one for working on the bike and the other for shipping a bike.
In the first configuration, the groove 16 can accept the outer part of a hub from above and the bike tire sits in the bend 18. FIGs. 1 and 2 show this configuration.


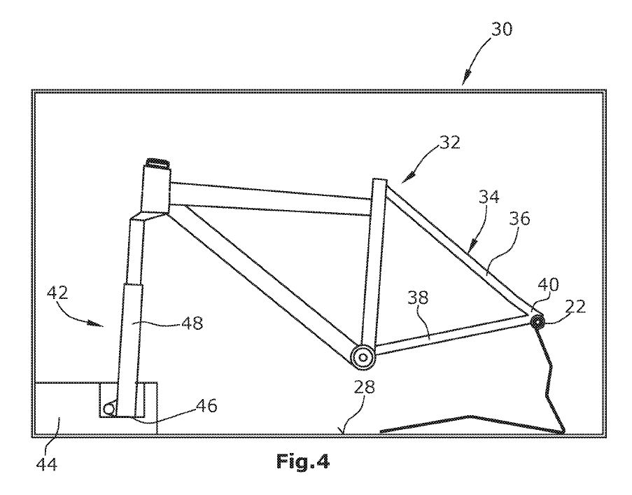
FIGs. 3 and 4 show the second configuration. This one is a bit more obvious. When the bike is being shipped, this stand will be place at the rear axle to hold the rear of the bike up. That’s it, pretty simple idea.


6/29/21 edit: I just found this on Canyon’s Euro website. Looks like they’ve had something like this for a while, but without the axle-receiver part. I’m interested to see when these will be available.










Leave a Reply