In this article, we’ll be discussing a Crown Air Volume by Fox, US publication 20210237824. The publication date is Aug. 5th, 2021 and the filing date is Jan 26th, 2021. This is not granted, yet.
Apologies for the shit pictures. These are just screenshots of their color CAD, converted to black and white, then processed through a potato.

Brief Summary (tl;dr)
Fox are developing a fork with air/fluid chambers in the crown itself. In one example, there is a fluid chamber (location in the crown) attached to the air-side stanchion of the fork. This will effectively increase the air volume chamber and will “…provide an effective increase in volume that would be similar to the volume found in an approximately 10mm longer upper fork tube.’
In another example, there are two chambers (air-side and damper-side) that can be connected through the crown. They’re going to use the air spring pressure to affect damping pressure.
Additionally, these chambers can be selectively opened and closed, so you can choose when you want the extra volume (reminds me of the Nude TR). The hole between the stanchion and the crown air chamber can be tuned, so the engineers can control the volume flow rate between them.
Intro
I did an article a long time ago about the Fox Nude TR (didn’t know it was the Nude at the time until I got called out), where Fox have implemented the ability to adjust the volume of a rear shock’s volume chamber, on the fly. I’m fairly certain this was only used on the Scott, which leads me to assume that this new fork is also for Scott – but I have no proof of that, just wildly speculating because they like their air chambers on air chambers.
For those that don’t know what the crown is, this is it. ->
Well, it looks like Fox want some more chambers in their forks. Let’s dive right in.

Intended Novelty
Although not granted, the intended novelty appears to be related to a combination of the extra crown volume and the switch, which controls fluid transfer between the stanchion and the crown. This hasn’t been touched by the USPTO, so this could definitely change as prosecution continues.
Why
Basically, Fox are saying fork characteristic adjustments based on the immediate terrain should be addressed. For example, uphill should be different than xc, which should be different than going downhill. Most companies are allowing some level of damping adjustment for these scenarios, but I’m not sure I’ve seen anything like this for the air-side.
But, Fox have a pretty good, explicit, advantage/why to this design. They say that with one particular example volume chamber, the effective length of the stanchion is increased by 10mm. Therefore, the stanchion length can be reduced without reducing performance. The volume of the chamber will be completely dependent on the size of the crown and won’t always be 10mm.
‘…coupling the fluid volume of the crown fluid chamber 400b to the upper fork tube 110b will provide an effective increase in volume that would be similar to the volume found in an approximately 10mm longer upper fork tube 110b. Thus, in one embodiment, the crown fluid chamber 400b allows for a reduction in the length of upper fork tube 110b without reducing performance (e.g., using the 10 mm example, the upper fork tube could be 10 mm shorter).’
Alternatively, Fox say that if you don’t reduce the size of the stanchion with the addition of this chamber, you will be bangin’ down the mountain with some heavy steez.
‘…the crown fluid chamber 400b allows for a significant increase in performance using the same length of upper fork tube 110b having access to crown fluid chamber 400b.
But it sounds like this will be the actual implementation. A mix of the chamber and slightly shorter stanchion.
In one embodiment, the crown fluid chamber allows for both an increase in performance while also using a somewhat reduced length upper fork tube 110b (e.g., using the 10 mm example, the upper fork tube could be 5 mm shorter).’
What
So, this one is actually fairly simple. FIG. 4a and B show the crown. FIG. 4b shows a cross-section through the middle of the crown. Fluid chambers 400a and 400b are both present, which travel toward the steerer. Fox say this design could have just one of these chambers and doesn’t need both.


In short, Fox are just using all available space to increase fluid volumes, that’s it. And the advantages of this go back to the fact that this should increase the effective tube length.
They say these chambers can be milled after the crown is created, but I have a hard time believing that. That’s a super difficult cavity to try to get tooling into (unless you do it like Pole, in two halves). This is a piece that’ll probably be cast, and there’s nothing wrong with casting. It’s a time-proven method. But, maybe they have some fancy tooling I don’t know about.
Fox also say these chambers can be connected, which leads to even more questions…
‘…crown fluid chamber 400a and crown fluid chamber 400b of crown 100 could be coupled via a fluid flow path thereby forming a single crown fluid chamber out of the combination of crown fluid chamber 400a and crown fluid chamber 400b.’
And I have answers, son. Assuming both chambers are connected through the crown, they’re going to use the air spring pressure to affect damping pressure. This little change adds a new level of suspension kinematics that I am not qualified to speak about. Hopefully, someone can jump in the comments and fill us in.
‘…when both sides of crown fluid chamber 400a and crown fluid chamber 400b of crown 100 are in some type of fluid communication, as the air spring pressure is increased in upper fork tube 110b, it would increase the pressure on the other upper fork tube 110b to provide increased damping pressure, and vise-versa.’
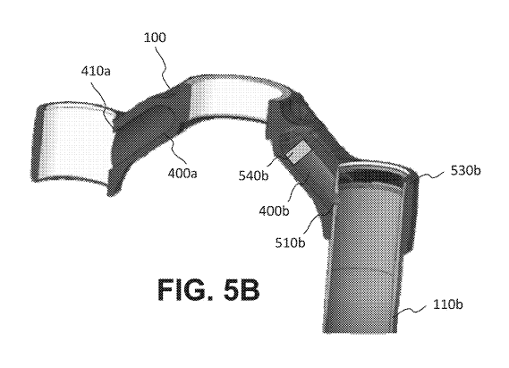
FIGs. 5A and 5B show this crown with a stanchion installed. Note the little hole 510b in the side of the stanchion. This is where the fluid will pass between the chambers. Fox say that little hole can be tuned to control volume flow rate, which would affect the spring curve. Even more interesting is volume spacer 540b. Wow, looks impossible to install. That’s pure ‘cover-your-ass’ language.


BUT, there’s another volume-changing idea that may be more realistic. Unfortunately, they don’t show a picture of it. Fox say there can be a bladder inside these chambers, which can change sizes using a bladder valve. In my head, there’s a small rubber bladder inside these chambers with a valve at the bottom of the crown, where you can pump the bladder up and down from the outside. But, that’s just my imagination, and they don’t really expand on that idea.
Lastly, I really want to talk about this little switch, but I’ll be really honest, I can’t really see this thing well enough to be confident enough to tell you exactly wtf is going on. If you want to dig in, it’s paragraphs [0063-0067]. In short, it’ll control passage the passage of fluid between the chamber and stanchion. Here are some pictures and some text for you to decipher.

‘Referring now to FIG. 6A, a side view of crown 100 with a switch 610 including a moveable switch portion 620 is shown in accordance with an embodiment. Referring now to FIG. 6B, an orthogonal cutaway view of a crown 100 with a switch 610 is shown in accordance with one embodiment. With reference now to FIG. 6C, a top cutaway view of a crown 100 with a switch 610 is shown in accordance with one embodiment.‘
‘…fluid pathway 630 connects crown fluid chamber 400b with port 510b of upper fork tube 110b to provide a controlled fluid connection therebetween. In one embodiment, moveable switch portion 620 is used to automatically and/or manually open or close fluid flow via fluid pathway 630. In so doing, a rider can control the amount of air volume available to upper fork tube 110b and thus air spring assembly 300. Thus, in one embodiment, fluid pathway 630 ports the air spring side of the upper fork tube 110b to the crown volume on the air spring side through a selectable switch, so the crown volume acts as a crown fluid chamber 400b. In one embodiment, the switch could be a manual switch, an electronic switch, or the like..
Conclusion
This is another extremely creative idea we have here. Fox are utilizing every bit of space they can to improve performance. I have some reservations about strength/stiffness of the crown, but I don’t think it’d be a huge deal on lower-travel XC forks. That being said, if they wanted to do this on a 40, they could just beef up the crown to make up for lost material. Would it be heavier? Maybe, but probably not much. Not saying this will work, but it’s cool. And no electronics, weird.
Are we seeing the new Scott/Fox Nude TR 34?









Leave a Reply