In this article, we’ll be discussing a Bike Frame by Look Cycle, US patent 11,155,317. The publication date is Oct 26th, 2021 and the filing date is June 17th, 2019. This patent is granted.
I get questions about why I don’t write about road bike stuff more often. It’s not that I ignore it, it’s that there’s not a lot going on in that area. But, we finally have a good one from Look.
11/8/21 Edit: This is the 795 Blade
Brief Summary (tl;dr)
Look have developed a new road bike frame with the goal of maintaining aero performance while also allowing the seat stays to be compliant. They’re doing this by designing a level of flex in the seat stays, where they flex laterally, not vertically. The shape of the seat stays would look like any normal road bike with a little bow to them, but do not have a bridge for a rim brake and are attached to the seat post independently as far forward as possible, allowing for as much flex as possible.
Background
We haven’t talked about compliance in a while, but we’re back at it with this one. In the physical world, compliance is the opposite of stiffness, where some level of flexibility is permitted, whether calculated or not. According to Oxford Languages, compliance is defined as:
…the property of a material undergoing elastic deformation or (of a gas) change in volume when subjected to an applied force. It is equal to the reciprocal of stiffness.
We deal with compliance on a daily basis, from power cords to phone cases to headphones (I can see all of those from my desk). It’s a necessary property for anything to give and not break. All bikes are designed with some level of compliance, again, whether it’s calculated or not. Many times, compliance is just something that designers deal with. For example, I can’t imagine fore-aft compliance of a fork is generally calculated, rather it’s just controlled as best as possible. This is especially apparent in longer-travel forks.
Other times, they try to control it for the benefit of ride characteristics. We’ve seen that in the Trek’s IsoSpeed system, among others, where certain places of the bike can move and shift in a calculated manner. The goal, at least for rigid bikes, is for a more comfortable ride for the benefit of your arms, hand, gooch, etc.
Intended Novelty
The novelty relates to seat stays having a traditional aero profile (tall and narrow), the seat stays are independent of one another, the seat stays are pre-curved, and can move closer to and away from one another under load.
Why
Look say that the current road bike frame design is optimized for aero gainz, where ‘…the seat stays have a smaller width viewed from the rear of the frame than the width thereof viewed from the side…’. As a result, these bikes suck ass to ride for long distances due to high vertical stiffness.
Additionally, Look say that typical designs include a bridge 12c between the two seat stays, shown below, which is used to mount a rim brake. Now that the road-biking world has embraced the disk brake, this bridge may not be necessary anymore.

Another interesting note is Look have cited this design from, now closed, Volagi (below) as a prior art they’re trying to overcome. This design incorporates a flexible seat stay system very similar to Look, but the seat stays are narrower from a side view than the back view. This should allow for adequate compliance, but at the cost of them sweet, sweet aero gainz. Look want both aero and compliance. My boy Cody would love this one.

The primary goal here is flexing the seat stays laterally, not vertically like others. This is due to the profile, where the seat stays are taller than they are wide.
The principle on which the present invention is based is that of proposing a design for seat stays that will be able to deform in a lateral direction relative to the plane of symmetry of the frame, working particularly in buckling, under the action of a generally vertical load.
What
FIGs. 3 and 4 show this new design. The first thing we need to notice is the profile S of seat stay 12b. In a nutshell, this is the primary design, where it’s longer than it is wide. Typically, this wouldn’t work for compliance in the vertical direction, but that’s not what they’re doing. For those wondering, fastener lug 3 is a rim brake mount, which extends from the seat tube, so they didn’t completely do away with rim brakes.


Another important aspect of this design is the two seat stays 12a and 12b are completely independent of each other. Here’s how they define that:
“Independent” is given to mean that there is no part mechanically connecting the two seat stays together, apart from the part to which the top end of the seat stays is connected. In particular, the frame according to the invention does not include a bridge 12c to support a rim brake.
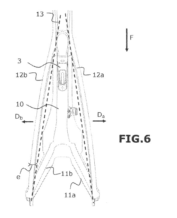
FIG. 5 shows cross-sectional areas of the seat stays. Yet another important aspect is shown in FIG. 6. Look say, at rest, the seat stays are pre-curved. Notice the difference between the dotted line and the seat stay. As a result, when a vertical load F is applied, the seat stays are predisposed to bend laterally. They also say the curve can point toward the bike, which isn’t shown. So, this outward curve isn’t limiting. Additionally, the curve can have variable radii.


FIGs. 7a, b show some interesting stuff. FIG. 7a(a) is equivalent to the bike in FIG. 1 (‘Why’ section). FIG. 7a(b) is the actual bike that Look are proposing. FIG. 7b shows vertical displacement dv of the rear axle for both tests. Forces F of 1000N and 2000N are applied to the rear axle. As you can see, the vertical displacement of bike (b) is greater than the prior art bike (a). Look say this new bike equates to ‘…approximately 20% greater displacement for the frame according to the invention, which translates into improved comfort for the cyclist.’

Look also show more data! Table 1 shows a comparison between Look’s new seat stays and a cylindrical seat stay, in terms of lateral and forward displacement. It’s important to note that these tests were run on aluminum frames with solid tubes.

The focus here is the lateral displacement:
In Table 1 below, it can be seen in particular that the aerodynamic profile of the seat stays 12a, 12b of the frame according to the invention makes it possible to obtain three times more lateral displacement than is obtained on a cylindrical profile seat stay for the same vertical load of 100 Newtons.
Table 2 shows a ratio of lateral displacement (parallel) to vertical (perpendicular). So,

In Table 2 below, it can be seen that the seat stays 12a, 12b according to the invention, subjected during the test to a vertical load of 2,000 Newtons, deform mainly in the lateral direction:
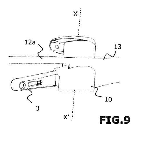
Lastly, FIGs. 8 and 9 just show more detailed views of this new design. FIG. 9 is viewed from below, which was tough to get my mind around. They’re showing the seat stays are attached to the seat tube as far forward as possible to maximize flex.
‘…in this case the decision is advantageously made to connect the top end of each seat stay 12a, 12b to an area of the seat tube placed as far forward as possible on the seat tube 10, here for example to the lateral front half of the seat tube, beyond the longitudinal axis XX’ of the seat tube.’


Conclusion
Anyone’s first thought is that just because this is patented doesn’t mean it actually works. We haven’t seen this in the wild, yet (I think), and there may be a reason for that (11/8/21 Edit: This is the 795 Blade). Flexible seat stays like this are ripe for failures, and thus warranty issues, because flexible frame pieces lower the strength of traditional non-flexible parts to a point where designers can optimize the flex. That’s really the high-level goal. Is the small technological advancement worth the potentially catastrophic business effect? It might be, given the number of brands that are doing this. I understand industries like F1 use this type of design, but they’re also not giving it out to the public full of dipshits.
From an engineering perspective, this is a wild concept with a lot that goes into it. A designer can sit there all day and run FEA to get an optimal flex, given a certain load, but there are tons of variables and design challenges to consider.
For example, Look will first need to define a baseline load value. They’ll get a bunch of different people to load up a data acquisition bike, and they’ll come up with some bell curve of maximum forces. They’ll then say “We need this to work for 98% of people, how much force did the lower 98% make?”, and they’ll use that as a threshold for their testing. It’s that 2% that could break a bike, leading to lawsuits that no one wants.
Or, if they overbuild it to work for +100% of forces from the data acquisition, then they have a high constraint that may prevent the bike from flexing properly. And even then, there’s still a scenario that some idiot is going to huck this off a 5ft drop, which they may not have planned for.
But, that’s the easy part. Then, you’ve got manufacturing vagaries. Again, a designer can sit and make an absolutely perfect bike, but actually making the damn thing is, easily, the most difficult task. They’d also define a threshold of failure for any randomly selected bike. For example, they might want failure to be within +/- 1% of an expected value. If they get a bike at -3%, then they have to chase a problem.
Then, they’d need to make it flex in a non-destructive tolerance, meaning the consistent cycles of flexure can’t cause damage, ever. Slight damage to the carbon fibers can lead to more damage to other fibers, eventually causing cyclical stress fractures and failures. In effect, stresses should stay under a predetermined flexural strength value.
But this is pretty cool and I love that they’re pushing the limits. This cannot be an easy task. It might look simple from the outside, but actually getting this to work is a completely different story. There are some smart people out there, so I’m sure they’re doing their homework. I hope we see this one day and have a Look at it. I’ll see myself out.









Leave a Reply